best counter
Old-School Logo

Avec Quoi Mesure T On La Vitesse Du Vent


Avec Quoi Mesure T On La Vitesse Du Vent

Donc, la vitesse du vent est mesurée.

Une mesure du vent sur le terrain se fait habituellement par l'anémomètre ou la manche.

Avec une mesure de vent, vous pouvez déterminer la direction du vent et la force du vent.

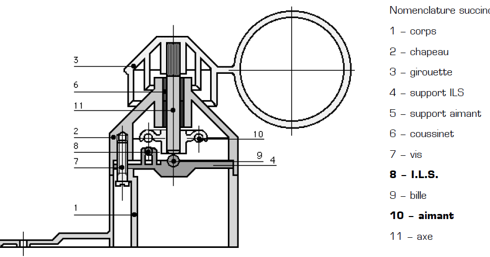
La direction du vent est déterminée sur la base d'une girouette.

Pour mesurer la vitesse du vent, il ya plusieurs méthodes.

La plus ancienne forme des anémomètres, inventée par l’architecte italien leon battista alberti en 1450, utilise une plaque montée sur une bande de métal élastique qui fait face au vent.

Au fur et à mesure que la vitesse du vent augmente, l’instrument est replié, la variation de son angle correspondant à la vitesse du vent.

Mesure de l’amplitude de la vitesse.

Cette mesure est typiquement réalisée par un anémomètre à coupelle.

Une coupelle présente une résistance au vent différente suivant la direction du vent :

Du coté du dos profilé, la résistance est moindre qu’avec la partie creuse face au vent.

Les trainées sur les différentes coupelles de l.

Si vous prévoyez de faire construire un parc éolien, ce sera en effet un véritable désastre économique si vous employez un anémomètre qui mesure les vitesses du vent avec une erreur de 10 %.

La vitesse est exprimée communément en km/h ou m/s.

Marins et pilotes utilisent les nœuds (1 nœud = 1,852 km/ h).

La mesure du vent est toujours une moyenne sur une période donnée.

L’anémomètre permet de mesurer la vitesse du vent.

Quelle est l’unité du système international d’une.

Comme le dit françois désarménien, l'instrument s'appelle, un anémomètre mais notre perception du vent n'est pas linéaire.

La différence entre 2 et 3 m/s est facile à remarquer, mais pas entre 18 et 19 m/s.

Pour cela, un amiral anglais, monsieur beaufort, a créé cette échelle basée sur ce que nous pouvons observer.

La vitesse du vent mesure la composante horizontale du déplacement de l'air en un point et à un moment donnés.

Les absences de vent sont appelées calmes.

En météorologie, il est important de noter que la direction nous indique d'où vient le vent, et non où il va.

Pour mieux comprendre cela, continuez à lire !

Définition la vitesse du vent est la vitesse de l'air contre le.

La mesure du vent par radars.

La force et la direction du vent à différentes altitudes peuvent être obtenues grâce aux mesures effectuées par radars :

Ces deux instruments de télédétection sont situés au sol et mesurent le vent par effet doppler.

La flèche indique la direction dans laquelle le vent souffle.

Le premier chiffre (en blanc) indique la vitesse moyenne du vent attendue (sur 10 minutes).

Lorsque la vitesse instantanée du vent dépasse la vitesse moyenne du vent de 10 à 15 nœuds (1 nœud = 1 852 km/h), on parle de « rafale ».

Comment mesurer la vitesse du vent sans anémomètre ?

Le vent est caractérisé par la mesure de deux grandeurs :

Celle de sa direction et celle de sa vitesse.

La première se calcule au sol avec une girouette.

Elle correspond à la direction angulaire du vent repérée par rapport aux points cardinaux.

La vitesse se mesure avec un anémomètre au niveau du sol.

En un point donné, le vent varie.

Donc, si vous mesurez le courant, vous disposez d’une méthode de base pour mesurer la vitesse du vent.

Avant d’utiliser cet outil, vous devez le calibrer.

En d’autres termes, vous aurez besoin de savoir combien de courant est généré par un vent connu à faible vitesse.

Le vent soufflant dans les coupelles fait tourner la broche.

Les anémomètres mesurent la vitesse du vent et mesure des girouettes direction du vent.

Une girouette typique a un pointeur à l’avant et des ailettes à l’arrière.

Par exemple, dans un vent du nord, la girouette pointe.

La vitesse du vent est généralement considérée comme la vitesse du vent.

La plupart des mesures du mouvement de l’air sont prises sur l’air extérieur et plusieurs facteurs peuvent l’affecter.

La vitesse moyenne du vent est souvent déterminée par un anémomètre et est généralement classée dans une échelle de mesure.

Un vent de 50 km/h = une pression de 12 kg/m environ.

Pour une estimation grossière, ii « suffit » ainsi de multiplier la masse volumique de l’air (1,293 kg/m3) par la vitesse du vent (exprimée en m/s) élevée au carré, puis par la surface sur laquelle souffle le vent (en m2), le tout divisé par 20.

On obtient alors la pression totale.

Dans cet article sont présentés les différents moyens qui permettent aux climatologues et aux météorologues de mesurer le vent.

Suivent les précautions qui doivent être prises pour installer les appareils et les conventions qui sont utilisées, puis les différents types d’instruments qui sont employés pour mesurer la direction et la vitesse du vent ainsi que leurs limites.

Comme le dit françois désarménien, l'instrument s'appelle, un anémomètre mais notre perception du vent n'est pas linéaire.

La différence entre 2 et 3 m/s est facile à remarquer, mais pas entre 18 et 19 m/s.

Pour cela, un amiral anglais, monsieur beaufort, a créé cette échelle basée sur ce que nous pouvons observer.

Le vent, c’est tout simplement ce qui désigne le mouvement horizontal de l'air.

La mesure du vent est composée de 2 paramètres complémentaires qui sont sa vitesse (ou sa force) ainsi que sa direction.

Les unités de mesure du vent utilisées en france sont les km/h ou m/s pour sa vitesse, et les nœuds (1 nœud = 1,852 km/ h) qui sont.

Le Guichet du Savoir - Consulter le sujet - vitesse du vent

Avec Quoi Mesure T On La Vitesse Du Vent Mesure d'anémomètre d'appareil de mesure de vitesse du vent de Poratble
Avec Quoi Mesure T On La Vitesse Du Vent Mesurer la vitesse du vent => le comparatif pour 2021 | Test et mesurage
Avec Quoi Mesure T On La Vitesse Du Vent Le Technicien Utilise Un Anémomètre Portatif Mesurant La Mesure Du
Avec Quoi Mesure T On La Vitesse Du Vent Anémomètre numérique de vitesse de vent tachymètre/volume d'air
Avec Quoi Mesure T On La Vitesse Du Vent Anémomètre Vaavud : Mesurer la Vitesse du Vent avec l'iPhone (video
Avec Quoi Mesure T On La Vitesse Du Vent Chine Station météo / Anémomètre / Direction de la vitesse du vent
Avec Quoi Mesure T On La Vitesse Du Vent Compteur De Vitesse Du Vent Portable Anémomètre Numérique Pour Mesurer
Avec Quoi Mesure T On La Vitesse Du Vent Appareil de contrôle de mètre de vitesse du vent d'anémomètre de GM8902
Avec Quoi Mesure T On La Vitesse Du Vent Dispositif de mètre de vitesse du vent de l'anémomètre AM-4836C de
Avec Quoi Mesure T On La Vitesse Du Vent Top 10 vitesse du vent – Stations météo et baromètres – Ashopins
Avec Quoi Mesure T On La Vitesse Du Vent LCD Digital Anémomètre A Main Vent Vitesse Température Air Mètre
Avec Quoi Mesure T On La Vitesse Du Vent Acheter des lots d'ensemble french moins chers – galerie d'image french
Avec Quoi Mesure T On La Vitesse Du Vent Anémomètre de mesure de thermomètre de vitesse de circulation d'air de
Avec Quoi Mesure T On La Vitesse Du Vent Mesure de la vitesse du vent avec l'anémomètre Somfy ~ Blog
Avec Quoi Mesure T On La Vitesse Du Vent Anémomètres, mesureurs et indicateurs de la vitesse du vent, capteur de
Avec Quoi Mesure T On La Vitesse Du Vent Le Technicien Utilise Un Anémomètre Portatif Mesurant La Mesure Du
Avec Quoi Mesure T On La Vitesse Du Vent UNI-T UT363 Mini Anémomètre Affichage LCD Mesure Vitesse - Température
Avec Quoi Mesure T On La Vitesse Du Vent UNI-T UT363 Mini Anémomètre Affichage LCD Mesure Vitesse - Température
Avec Quoi Mesure T On La Vitesse Du Vent Voiles, Vent, Vitesse